CAL6224A82 CAL6224A82

loading

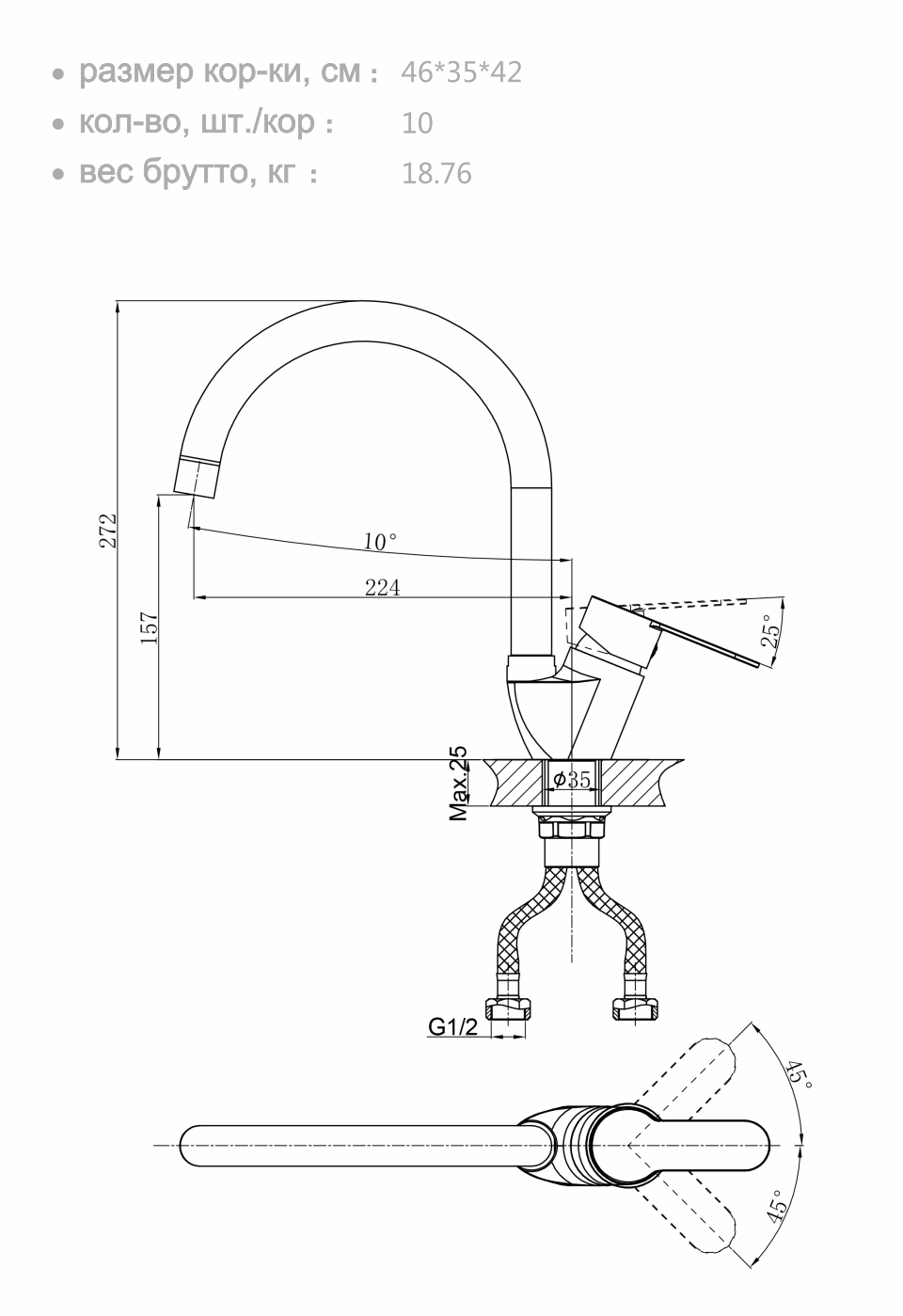
CAL6224A82

Поделиться с:
sharethis sharing button
Наименование Товара :
Обработка поверхности:
штат:

предыдущий: 
следующий: 

МЕНЮ

2020 ООО компания сантихники "Шидай"